MCU Solutions for 6LoWPAN Home Automation Networks
Bidrag fra Electronic Products
2011-12-14
Many pundits have predicted that networks of intelligent objects such as sensors and actuators will grow, in terms of node count, much faster than IT-centric networks going forward. Obviously we have a de facto standard for computer-centric home data networks in Wi-Fi, and there are also power-line, cable, and phone-line networks that can carry computer data as well. What’s missing is a much-lower-cost network with a lightweight protocol that can be implemented in devices ranging from the washing machine to the thermostat to entertainment devices such as music players.
It appears now that the industry is moving towards the 6LoWPAN (IPv6 over Low-power Wireless Personal Area Networks) protocol as a standard for networks with companies and industry-organizations such as the IPSO (Internet Protocol for Smart Objects) Alliance supporting the technology that makes embedded-processing nodes directly accessible over the Internet. While there are issues to be resolved before broad deployment occurs, design teams can begin work on 6LoWPAN-based products now using readily-available microcontrollers (MCUs) and software stacks.
IEEE 802.15.4 networks
The ZigBee wireless network has been poised for home-automation usage, although it has found far more success in commercial and industrial applications. ZigBee relies on the IEEE 802.15.4 standard which defines a wireless mesh network that can operate in either sub-1-GHz or 2.4-GHz bands. The term mesh implies that all nodes on the network do not have to be in direct contact with, or within range of a central access point. Each device on the network acts as a repeater, retransmitting data packets.
The 802.15.4 standard, however, only defines the physical and media-access layers that lie at the bottom of a network stack. It does not include a definition of network protocols or higher-level characteristics that might include application-specific elements such as an application-layer protocol for managing your HVAC system and thermostat.
The ZigBee community added its own protocol layers on top of 802.15.4. Moreover there are now standards within ZigBee for specific types of applications such as HAVC control. But ZigBee does not expose network nodes directly to the Internet. You can certainly bridge ZigBee networks to data networks and allow for remote access over the Internet. But that support is not inherent in ZigBee.
The 6LoWPAN effort was rooted in proving a globally unique IP address, based on IPv6, to any device requiring one thereby enabling the connection of a smart object directly to the Internet. A decade back, many feared that we would run out of 32-bit IPv4 addresses for computers and certainly IPv4 would never support the predicted onslaught of connected smart objects. IPv6 utilizes a 128-bit address field and can support 3.4x1038 unique devices. IPv6 and 6LoWPAN will be critical in connecting everyday appliances to the Internet.
The 6LoWPAN protocol was designed for use on top of 802.15.4 networks and that's the primary usage model in the near term. There will certainly be implementations that integrate 6LoWPAN and ZigBee together. And Google is working on a simpler mesh network in the sub 1-GHz band that it may provide on an open-source basis as part of its Android@Home initiative. Presumably 6LoWPAN would be the protocol of choice for that Google network.
Getting started with 6LoWPAN
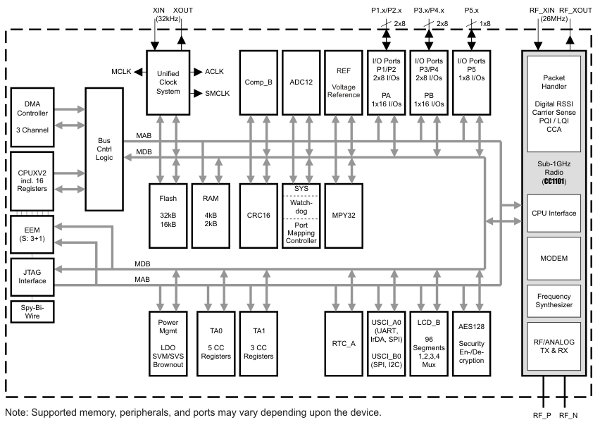
There are MCUs and software stacks readily available to support 6LoWPAN development for 802.15.4 networks. For example, Texas Instruments (TI) recently announced some ICs that are classified as system-on-chip products that integrate both an MPS430-based MCU and a wireless transceiver. The CC430F5137 and CC430F6137 (Figure 1) both include a 16-bit MPS430 core, 32 kbytes of Flash memory, 4 Kbytes of RAM, a 12-bit A/D converter, AES-128 encryption engine for security, and other assorted peripherals. Figure 1 depicts the architecture. The CC430F6137 adds an LCD driver to the peripheral mix. TI supplies a 6LoWPAN stack called NanoStack developed by Sensinode.

Figure 1: Texas Instruments' CC430F5137 and CC430F6137 ICs combine an MPS430-based MCU with a sub-1-GHz 802.15.4 transceiver and the latter adds an LCD driver.
Both of the TI ICs integrate a transceiver that is in essence the CC1101 sub-1GHz transceiver that the company also sells as a standalone IC. The transceiver includes a CPU interface, packet handler, modem, and synthesizer. The transceiver enables operation in 315-, 433-, 868-, and 915-MHz frequency bands making it useable in ISM (Industrial, Scientific, and Medical)-allocated spectrum in most countries around the world.
Atmel is another vendor with 6LoWPAN support. The ATMEGA128RFA1 family of ICs combines an 8-bit AVR-family MCU, 128 kbytes of Flash memory, and a 2.4-GHz-band 802.15.4 transceiver. The company has its own 6LoWPAN stack called RUM (Route Under MAC). Moreover Atmel offers the ATAVR128RFA1-EK1 development kit that you can use to experiment with 802.15.4-based designs. The kit includes a pair of boards based on the ATMEGA128RFA1 MCU. DigiKey also hosts a product training module focused on the ATMEGA128RFA1 Wireless MCUs that designers can view to learn about the full capabilities of the ICs.
NXP Semiconductors not only offers products that support 6LoWPAN, but also provided a public demonstration of the technology at an IPSO Alliance event called the "Internet of Things" held on October 12, 2011. The demonstration included Android and iPad tablets controlling 6LoWPAN-enabled lights and power outlets along with a dedicated 6LoWPAN-based display and control panel.
NXP is currently supporting 6LoWPAN with the JN5148 IC that integrates a 32-bit RISC processor along with a 2.4-GHz radio (Figure 2). The company has a 6LoWPAN-based software stack called JenNet-IP that adds some management functionality to the basic 6LoWPAN protocol.

Figure 2: NXP integrates a 2.4-GHz transceiver in the JN5148 wireless MCU and offers 6LoWPAN support with its JenNet-IP software stack.
After many false starts, perhaps 6LoWPAN can really move home-automation networks forward. The technology could certainly offer conveniences to consumers. And it could yield real energy saving with programmatic control of HAVC systems, lighting, major appliances, and other devices. Moreover there are a long list of major companies with interest in the space including those mentioned here and the deep roster of IPSO Alliance members. And Google's interest cold push things forward. The best news for embedded design teams, is that the tools needed to start a 6LoWPAN-based design are here now and readily available with software support.
Disclaimer: The opinions, beliefs, and viewpoints expressed by the various authors and/or forum participants on this website do not necessarily reflect the opinions, beliefs, and viewpoints of DigiKey or official policies of DigiKey.

